В данной статье рассмотрю арболитовые плиты как самостоятельный конструкционный материал для возведения наружных стен.
Прежде всего, необходимо отметить, что применение стеновых блоков из арболита возможно в зданиях с относительной влажностью воздуха помещений не более 75 %, в неагрессивной среде.
В случае возникновения необходимости возведения стен из арболита в помещениях с мокрым режимом, допустимо их применение при условии надежной защиты от увлажнения (надежные и выполненные надлежащим образом паро- и гидроизоляции).
В подвальных и цокольных этажах не допускается устраивать ограждающие конструкции из арболита.
Если арболитовые блоки при возведении стен используются в качестве несущих элементов, то этажность здания ограничивается тремя этажами. Если же арболит применяется в качестве заполнения каркасов или ненесущих стен с поэтажным опиранием на перекрытия, этажность может превышать три этажа.
Толщина наружных стен из арболитовых блоков должна определяться исходя из обеспечения требуемых показателей по сопротивлению теплопередаче и несущей способности стен.
В зависимости от требуемой толщины наружных стен кладка может вестись в один или два блока. При толщине стены в один блок должна соблюдаться перевязка швов не менее 100 мм.

При толщине стены в два блока желательно обеспечить смещение вертикальных швов наружных блоков относительно вертикальных швов внутренних блоков не менее 100 мм, или половину блока.

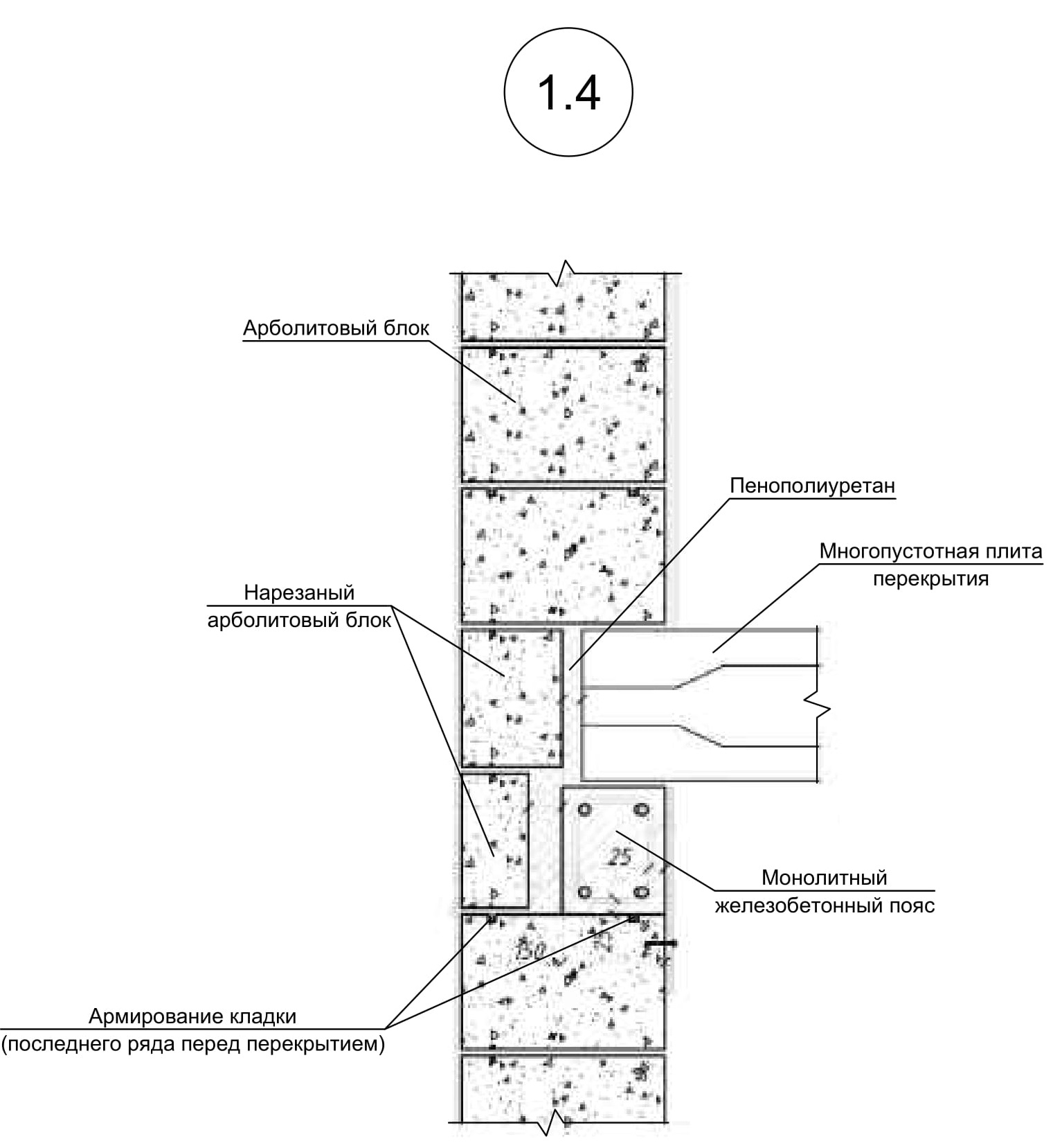
Ниже приведены основные узлы по устройству как наружных, так и внутренних стен из арболитовых блоков.









При написании статьи использованы материалы:
- https://kblok.ru